| Pos. | Bezeichnung/Artikelnummer | PG | |
|---|---|---|---|
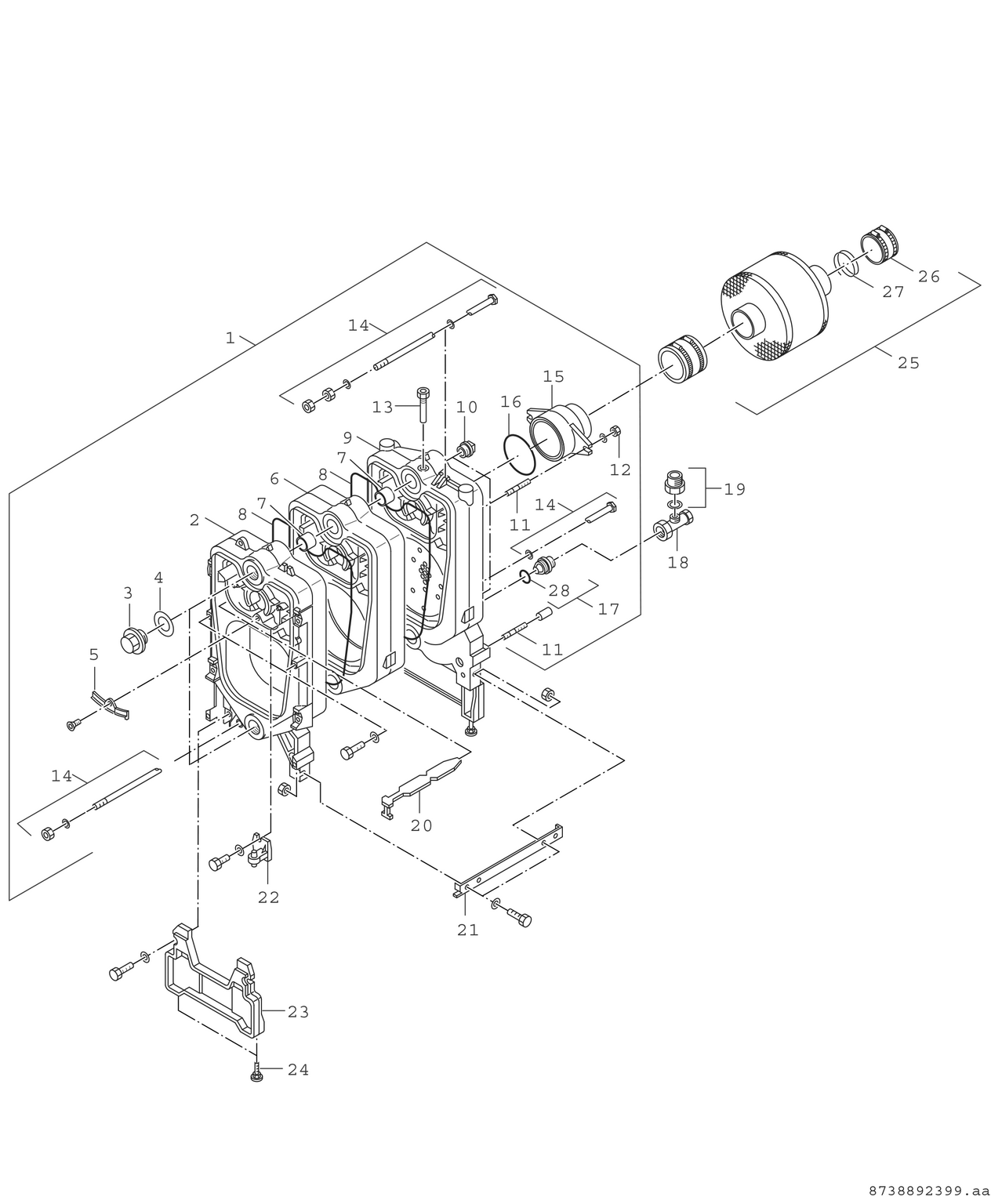
| 1 |
Kesselblock G115-5Gld RLU gasd Ersatz
6 302 496 6
|
86 |
Dieses Ersatzteil ist nicht verfügbar.
|
| 2 |
Vorderglied 17-34 everp
8 718 585 129
|
57 |
Zur Merkliste hinzufügen
|
| 3 |
Blindstopfen G 1 1/4" re everp
8 718 571 258 0
|
21 |
Zur Merkliste hinzufügen
|
| 4 |
Dichtung D41,7x55x1,5 AFM 34 everp
8 738 807 916
|
12 |
Zur Merkliste hinzufügen
|
| 5 |
Sperrplatte everp
6 301 534 2
|
27 |
Zur Merkliste hinzufügen
|
| 6 |
Mittelglied 17-34 everp
8 718 585 130
|
55 |
Zur Merkliste hinzufügen
|
| 7 |
Kesselnippel 48/38 Gr.0a everp
7 747 024 961
|
18 |
Zur Merkliste hinzufügen
|
| 8 |
Dichtschnur D15x4300 Pack B=3Rol everp
8 718 584 416
|
46 |
Zur Merkliste hinzufügen
|
| 9 |
Hinterglied G105/G115 everp
8 718 572 222 0
|
58 |
Zur Merkliste hinzufügen
|
| 10 |
Stopfen G 1 everp
8 718 584 633
|
17 |
Zur Merkliste hinzufügen
|
| 11 |
Stiftschraube M10x65
5 555 070
|
10 |
Zur Merkliste hinzufügen
|
| 12 |
6kt-Mutter ISO4032 M10 8 A3K (4x) everp
8 718 583 603
|
10 |
Zur Merkliste hinzufügen
|
| 13 |
Tauchhülse R3/4"x100mm verp
5 446 065
|
29,50 EUR | |
| 14 |
Ankerstange Satz M8x555 mit Kopf everp
5 127 580
|
29 |
Zur Merkliste hinzufügen
|
| 15 |
Abgasstutzen G115
5 354 074
|
36 |
Zur Merkliste hinzufügen
|
| 16 |
Dichtschnur 8x1050 GP everp
6 302 096 1
|
18 |
Zur Merkliste hinzufügen
|
| 17 |
Einspeisstk G115 2-4Gld kpl everp
5 584 364
|
25 |
Zur Merkliste hinzufügen
|
| 17 |
Einspeisstück G1 1/4xG11/4 everp
8 718 573 329 0
|
32 |
Zur Merkliste hinzufügen
|
| 18 |
T-Stück kpl everp
5 584 368
|
25 |
Zur Merkliste hinzufügen
|
| 19 |
Anschluss für Heizungsrücklauf R1" kompl
5 354 990
|
21 |
Zur Merkliste hinzufügen
|
| 20 |
Heizgaslenkplatte 40/5 Gld everp
8 718 570 842 0
|
30 |
Zur Merkliste hinzufügen
|
| 21 |
Winkel 5 Gld everp
8 718 585 058
|
40 |
Zur Merkliste hinzufügen
|
| 22 |
Scharnierwinkel everp
8 718 570 845 0
|
20 |
Zur Merkliste hinzufügen
|
| 23 |
Kesselfuß everp
8 718 584 682
|
38 |
Zur Merkliste hinzufügen
|
| 24 |
Gerätefuß M10x51 everp (4x)
6 302 865 7
|
15 |
Zur Merkliste hinzufügen
|
| 25 |
Abgasschalldämpfer DN130 kpl
8 718 584 389
|
63 |
Zur Merkliste hinzufügen
|
| 26 |
Abgasrohrabdichtmanschette DN130 kpl
5 354 030
|
36 |
Zur Merkliste hinzufügen
|
| 27 |
Dichtschnur 10x2000 GP everp
6 302 096 3
|
27 |
Zur Merkliste hinzufügen
|
| 28 |
O-Ring 44x3 (5x) everp
8 718 575 527 0
|
30 |
Zur Merkliste hinzufügen
|
|
Dichtungssatz Flachd HS/HSM everp V1
5 354 968
|
28 |
Zur Merkliste hinzufügen
|
|
Bürstenstange 1200 lg f TG115-140
5 939 106 2
|
28 |
Dieses Ersatzteil ist nicht verfügbar.
|
|
|
Dichtmasse Leinölgraphit 450g Dose everp
8 718 571 927
|
31 |
Zur Merkliste hinzufügen
|
|
|
Haftgrund Teroson 1624-24 everp
8 718 576 019 0
|
28 |
Zur Merkliste hinzufügen
|
|
|
Dichtmasse braun 310ml everp
8 718 576 633 0
|
28 |
Zur Merkliste hinzufügen
|
|
Reinigungsbürste für TG15-28 everp
8 718 584 671
|
23 |
Zur Merkliste hinzufügen
|